Descrição
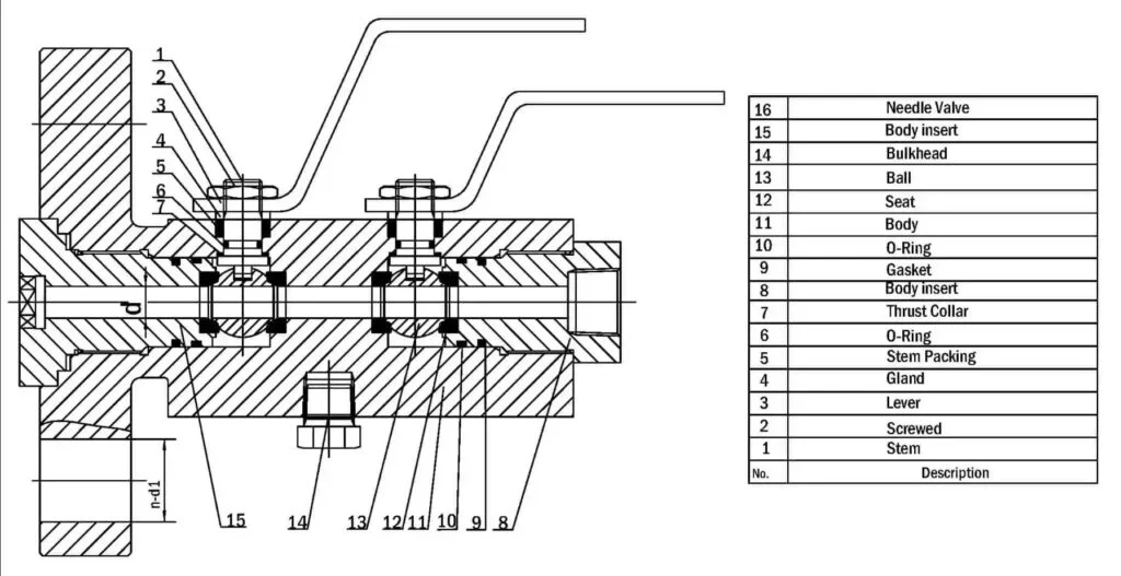
As válvulas de descarga de plugue duplo, comumente chamadas de válvulas DBB, são uma parte indispensável dos processos industriais modernos. Ele combina de forma inteligente duas válvulas de isolamento e uma válvula de escape em um único produto, fornecendo uma solução compacta e eficiente para o manuseio seguro de fluidos. As válvulas DBB são amplamente utilizadas em tubos de injeção de produtos químicos e sinalizadores de pig, proporcionando desempenho de isolamento confiável, reduzindo custos de instalação e componentes e minimizando problemas causados por vibração. Desde campos de petróleo e gás até plantas petroquímicas e farmacêuticas, as válvulas DBB continuam a desempenhar um papel fundamental na melhoria da eficiência e segurança operacional.
Parâmetros da Válvula DBB
| Nome | Válvula DBB de injeção química de tubulação de alta pressão |
| Material | Aço inoxidável 304 ou aço inoxidável 316 |
| Temperatura de operação | 54-640°C |
| Características | 1. Fácil de operar |
| 2. Custo-benefício e versatilidade | |
| 3. Longa vida e alta eficiência | |
| Pagamento | TT/FC |
| Vantagens | 1. A redução nos custos de instalação e componentes pode levar a economias de até 70%. |
| 2. Os custos associados à instalação e aos componentes podem ser reduzidos em até 70%, levando a economias significativas. | |
| 3. Vulnerabilidade minimizada a problemas decorrentes de vibrações. |
A Mecânica da Válvula DBB
A. O papel das duas válvulas de isolamento
As duas válvulas de isolamento na válvula DBB são os principais componentes que fornecem a função de “bloqueio duplo”. Estas válvulas de isolamento estão localizadas em ambos os lados da válvula de escape e são projetadas para bloquear com segurança o fluxo de fluidos do processo. Quando as duas válvulas de isolamento estão fechadas, elas formam uma barreira segura que impede a passagem de qualquer fluido. Isto é especialmente benéfico durante a manutenção ou desligamento do sistema, garantindo o isolamento seguro dos fluidos do processo.
B. A função da válvula de sangramento
A válvula de escape está localizada entre as duas válvulas de isolamento e desempenha um papel fundamental na ventilação ou descarga segura da cavidade formada quando as duas válvulas de isolamento são fechadas. A válvula de exaustão permite que qualquer fluido de processo preso seja drenado ou ventilado com segurança, garantindo que a seção do tubo possa ser aberta com segurança para manutenção ou inspeção, sem o risco de liberação pressurizada do fluido de processo.
C. O Processo de Isolamento e Sangramento
O processo de isolamento e sangramento com válvula DBB envolve uma série de etapas. Primeiro, as duas válvulas de isolamento são fechadas para formar um bloqueio do fluido do processo. Em seguida, abra a válvula de ar para drenar ou descarregar o fluido retido na cavidade entre as válvulas de isolamento. Este processo garante que a seção da tubulação esteja completamente isolada e livre de fluidos de processo, tornando-a segura para trabalhos de manutenção ou inspeção. Quando o trabalho estiver concluído, feche a válvula de escape e depois abra a válvula de isolamento para retomar o fluxo dos fluidos do processo.
Comparações e considerações
A. Comparação de válvulas DBB com sistemas de válvulas tradicionais
As válvulas DBB oferecem vantagens significativas em relação aos sistemas de válvulas convencionais. Ao contrário dos sistemas tradicionais, que requerem múltiplas válvulas para isolamento e purga, as válvulas DBB consolidam estas funções numa única unidade. Isto torna as válvulas DBB mais compactas, eficientes e econômicas. As válvulas DBB também proporcionam um nível mais alto de segurança, fornecendo uma função de bloqueio duplo que garante o isolamento completo dos fluidos do processo.
Em contraste, uma válvula DIB, embora semelhante a uma válvula DBB, oferece isolamento duplo, o que significa que pode vedar o fluxo do processo em ambas as direções. Isto torna a válvula DIB particularmente útil em situações onde é necessário garantir que o fluido não possa fluir através de nenhum dos lados.
B. Fatores a serem considerados ao selecionar uma válvula DBB
Existem vários fatores a serem considerados ao escolher uma válvula DBB.
Aplicativo: Considere onde e como a válvula será usada. Diferentes aplicações podem exigir tipos específicos de válvulas DBB.
Material: Considere o tipo de fluido que a válvula irá suportar. Alguns fluidos podem exigir uma válvula feita de um material especial para resistir à corrosão ou outras reações químicas.
Pressão e temperatura: Verifique a pressão nominal e a temperatura da válvula. Certifique-se de que correspondem às condições operacionais da válvula.
Diâmetros: As válvulas DBB têm diâmetros diferentes. Escolha um cachimbo que funcione para você.
Custo: Embora as válvulas DBB possam economizar dinheiro ao longo do tempo, elas podem custar mais antecipadamente. Certifique-se de que os custos iniciais e de longo prazo sejam levados em consideração.
Diferenças entre a válvula DBB e a válvula DIB
Válvulas DBB:
As válvulas DBB geralmente possuem duas válvulas de isolamento e uma válvula de escape. A principal função da válvula DBB é isolar ou bloquear o fluxo de fluido no sistema para que possa ser mantido ou testado com segurança. Nas válvulas DBB, as duas válvulas de isolamento fornecem uma barreira dupla que garante a passagem de fluido, enquanto a válvula de escape permite que o espaço entre as duas válvulas de isolamento seja drenado ou ventilado.
Válvulas DIB:
As válvulas DIB, por outro lado, proporcionam isolamento duplo, mas de forma diferente. A válvula DIB tem duas funções de isolamento, uma é isolar a pressão a montante e a outra é isolar a pressão a jusante. Cada válvula de isolamento na válvula DIB pode fornecer seu próprio isolamento. Isto significa que os dois lados da válvula DIB podem ser pressurizados independentemente um do outro.
A válvula DIB possui capacidade de vedação em duas direções, o que é particularmente útil em aplicações que garantem que o fluido não possa passar através da válvula em ambas as direções. Por exemplo, as válvulas DIB podem ser usadas em situações onde você não deseja que um fluido potencialmente perigoso a montante se misture com outro fluido a jusante e vice-versa.
Embora as válvulas DBB e DIB pareçam semelhantes, suas diferenças as tornam adequadas para diferentes aplicações. Portanto, é necessário entender essas diferenças para escolher a válvula certa para suas necessidades específicas.








Avaliações
Não há comentários ainda.